Amortizatorių gedimų diagnostika
Atnaujinta: 2020-03-10
  • amortizatoriaus-paveiksleli

Amortizatorius - techniškai pakankamai sudėtinga automobilio detalė. Jeigu daugumos pakabinimo elementų diagnostiką galima atlikti „montavimo pagalba", tai norint nustatyti amortizatorių gedimus, o juo labiau išsiaiškinti tų gedimų priežastis, dažnai būtina testuoti specialiuose stenduose.

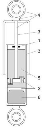
Stambių kompanijų - amortizatorių pardavėjų patirtis rodo, jog pagrindinė amortizatorių gedimo priežastis yra jų neprofesionalus montavimas arba eksploatavimo sąlygų pažeidimas. Praktika rodo, kad gamyklos brokas užsienio gamybos amortizatoriuose retai viršija 0,5 %. Tačiau, kai atsiranda amortizatoriaus defektas, net tuo atveju, jei įrodyta montuotojo kaltė, vartotojui paprastai susidaro neigiamas tiek parduotuvės, kuri pardavė amortizatorius, tiek ir pačios amortizatorių markės įvaizdis. Todėl, norint pasiekti teigiamo savo kompanijos įvaizdžio, labai svarbu stengtis, kad amortizatoriai negestų anksčiau laiko. Piešinyje pavaizduota amortizatoriaus konstrukcija. Vietos, kuriose gali atsirasti amortizatorių defektai, pažymėtos skaičiais 1 - 6.

Labiausiai paplitę amortizatorių defektai:

1. Amortizatoriaus koto riebokšlio nutrūkimas. 2. Amortizatoriaus vidaus pažeidimai: vožtuvų mazgo arba stūmoklio gedimas arba natūralus susidėvėjimas. 3. Mechaninis amortizatoriaus pažeidimas: įtrūkimas, įdubimas korpuse, koto kreivumas. 4. Amortizatoriaus lūžimas: koto lūžimas, tvirtinimo kilpos nutrūkimas, atraminių gumų degradacija arba pažeidimas. 5. Amortizatorių skysčio savybių neatitikimas arba degradacija. 6. Dujų nebuvimas amortizatoriuje.

Vienų ar kitų defektų atsiradimo priežastys gali būti skirtingos. Pavyzdžiui, koto riebokšlio nutrūkimą gali sukelti ir montavimo technologijos pažeidimas (koto chrominio paviršiaus pažeidimas), ir amortizatoriaus dulkinio susidėvėjimas (koto korozija patekus drėgmei). Yra keli būdai įvertinti amortizatorių darbingumą. Jie skirtingi pagal savo sudėtingumą, ir, atitinkamai, jų diagnostikos tikslumo laipsnis skirtingas. Paprastai, kuo paprastesnis metodas, tuo mažiau tikslumo rezultatuose. Tolesniuose skyriuose parodyti labiausiai paplitę amortizatorių diagnostikos būdai, išvardinti pagal rezultato tikslumą, nurodyti defektai, kuriuos galima išaiškinti jų pagalba, ir tų defektų atsiradimo priežastys.

Automobilio pakabinimo stabilumo, valdomumo ir standumo pakeitimo diagnostika

Šias metodas - tai stovinčio automobilio kėbulo siūbavimas ir amortizatorių būklės įvertinimas pagal kėbulo siūbavimo judesių skaičių iki visiško sustojimo. Šis metodas leidžia nustatyti tik dvi „kraštutines" amortizatoriaus būkles: arba amortizatorius visiškai sugedęs (sulūžo kilpa arba kotas, susidėvėjo vožtuvų mazgas, nėra amortizatoriaus skysčio darbinėje kameroje), arba amortizatorius „įstrigo". Bandymai nustatyti amortizatoriaus susidėvėjimo laipsnį šiuo atveju nepavyks, nes amortizatoriaus pastanga priklauso nuo koto judėjimo greičio. Be to, skirtinguose automobiliuose, kaip jau buvo minėta, konstruktyviai sumontuoti skirtingi pakabinimo standumo parametrai. Kai kurių automobilių pakabinimas yra pakankamai „minkštas". Kai automobilis juda, amortizatoriaus koto judėjimo greitis yra daug didesnis, negu tas, kurį jums pavyks pasiekti, siūbuojant automobilį. Todėl ir nustatyti amortizatoriaus susidėvėjimo laipsnį šiuo atveju neįmanoma. Paprastai toks amortizatorių gedimų priežasčių išsiaiškinimo būdas papildomas dar ir vizualiniu jų diagnostikos metodu. Reikia atsižvelgti į tai, kad yra amortizatorių su regresyvia ir progresyvia siūbavimų gesinimo charakteristikom. Regresyvūs gerai gesina šoninius (posūkiuose) ir išilginius (stabdant) palinkimus, ir blogai pakelia smulkius kelio nelygumus. Progresyvūs gerai gesina smulkius nelygumus, bet blogai jaučiasi posūkiuose ir stabdymo metu. Keičiant amortizatorius su regresyviom į amortizatorius su progresyviom charakteristikom, gali būti pažeisti automobilio pakabinimo elementai. Patikrinimas siūbuojant kėbulą nelabai efektyvus dėl to, kad pakabinimo šarnyrai po ilgo eksploatavimo gali judėti su dideliu pasipriešinimu, kurio bus pakankamai greitam siūbavimo gesinimui. Ir atvirkščiai, amortizatoriai su progresyviom charakteristikom dėl mažo pasipriešinimo nedideliuose kėbulo judėjimo greičiuose lėtai gesins siūbavimus net nesugedę. Vizualinis amortizatorių diagnostikos metodas Tai labiausiai paplitęs metodas, kuris, kartu su pirmais dviem diagnostikos būdais, leidžia daugumoje atvejų išsiaiškinti tikrąsias amortizatoriaus gedimo priežastis. Šio metodo pagalba neįmanoma tiksliai nustatyti tik amortizatoriaus vidinių dalių pažeidimų ir gedimų priežasčių. Svarbu žinoti, kad vienas iš dažniausiai pasitaikančių amortizatoriaus vidinių dalių defektų yra jų natūralus susidėvėjimas. Naudojant vizualinį diagnostikos metodą, dažnai tenka nuimti įmontuotą automobilyje amortizatorių, o tai dažniausiai reikalauja daug darbo, o tai reiškia, kad ir išlaidų. Reikia pasakyti, kad dirbant amortizatoriui, alyvos „migla" ant jo korpuso ir koto laikoma norma. Tačiau alyvos lašų ant korpuso ir koto neturi būti.
Lentelėje nurodyti defektai, kurie gali būti nustatyti šio metodo pagalba.

 

1 defektas

2 defektas

Priežastis

Veiksmai

Alyva ant amortizatoriaus korpuso ir koto. Matosi lašai ir nutekėjimai

Neaptikta

Tarpiklio natūralus susidėvėjimas

Amortizatoriaus pakeitimas

Amortizatoriaus koto korozija. Amortizatoriaus koto tarpiklio nutrūkimas

Korozija sukelta amortizatoriaus susidėvėjimu ir susijusi su vandens ir purvo patekimu ant koto

Amortizatoriaus pakeitimas

Įbrėžimai ant amortizatoriaus koto. Amortizatoriaus koto tarpiklio nutrūkimas

Amortizatoriaus koto pažeidimas dėl montavimo technologijos pažeidimo

Amortizatoriaus pakeitimas

Pažeista amortizatoriaus koto chrominė danga. Amortizatoriaus koto tarpiklio nutrūkimas

Amortizatoriaus kotas blogai veikia. Nesilaikyta amortizatoriaus montavimo technologijos arba pažeista automobilio kėbulo geometrija dėl avarijos arba smūgio

Amortizatoriaus pakeitimas

Amortizatoriaus korpusas suteptas prieškorozine mastika

Amortizatoriaus tarpiklio susidėvėjimas dėl amortizatoriaus perkaitimo

Amortizatoriaus pakeitimas

Nutrauktas amortizatoriaus tvirtinimas

-

Amortizatoriaus pažeidimas, susijęs su ilgu eksploatavimu

Amortizatoriaus pakeitimas

-

Ekstremali amortizatoriaus apkrova (smūgis)

Amortizatoriaus pakeitimas

Ant amortizatoriaus nėra alyvos lašų, bet automobilio judėjimo metu per daug „minkštas“

Vožtuvų susidėvėjimas, pažeidimas

Natūralus susidėvėjimas arba ekstremali apkrova

Amortizatoriaus pakeitimas

Amortizatoriaus kotas sulinkęs arba sulūžęs

Stiprus mechaninis amortizatoriaus poveikis

Stiprus pakabinimo smūgis, automobilio kėbulo geometrijos pažeidimas dėl avarijos

Amortizatoriaus pakeitimas

Per didelė pastanga tvirtinant amortizatoriaus kotą

Montavimo technologijos nesilaikymas

Amortizatoriaus pakeitimas

Nelygumas montuojant amortizatorių

Montavimo technologijos nesilaikymas arba kėbulo geometrijos pažeidimas

Amortizatoriaus pakeitimas

Mechaninis korpuso pažeidimas, įdubimas amortizatoriaus korpuse

Stiprus mechaninis poveikis amortizatoriui

Akmens patekimas, automobilio kėbulo geometrijos pažeidimas dėl avarijos

Amortizatoriaus pakeitimas

Amortizatorius įstrigo

Amortizatorius neturi išorinių pažeidimų

Vidiniai amortizatoriaus pažeidimai

Amortizatoriaus pakeitimas

Amortizatorius „sušalo“ (žiemos metu). Amortizatoriaus skysčio sutirštėjimas

Vandens patekimo arba nekokybiško amortizatoriaus skysčio naudojimo rezultatas

Sušildyti amortizatorių, šildant skystis atgauna savo savybes

Nevyksta automatinis dujų amortizatoriaus koto išstūmimas

-

Nėra dujų amortizatoriuje: koto tarpiklio pažeidimo rezultatas arba natūralus susidėvėjimas

Amortizatoriaus pakeitimas

Amortizatoriaus koto didelė laisva eiga

Nepakanka amortizatoriaus skysčio

Amortizatoriaus skysčio nutekėjimas per koto tarpiklį

Amortizatoriaus pakeitimas

Bildesys amortizatoriuje

Vidaus pažeidimai

Ekstremalios apkrovos

Amortizatoriaus pakeitimas

Kartridžo nusitrynimai amortizatoriaus stove

Kartridžas nebuvo tvirtai pritvirtintas prie stovo

Išrinkti stovą ir vėl jį surinkti, laikantis surinkimo technologijos

Guminių įvorių amortizatoriaus tvirtinimo kilpose susidėvėjimas ir pažeidimas

Pažeisti užveržimo momentai montuojant amortizatorius. Panaudoti amortizatoriai, netinkantys šiam automobiliui. Natūralus įvorių susidėvėjimas

Įvorių pakeitimas

 

Amortizatorių diagnostika „šoko testeriu“

Šoko testeris – stendas amortizatorių patikrinimui, kurio darbo principas toks: viena iš automobilio ašių siūbuojama tam tikru dažniu ir amplitude, po to nustatomas siūbavimų sulėtėjimo greitis. Šis metodas leidžia nustatyti amortizatorių susidėvėjimo laipsnį etalono atžvilgiu. Toks etalonas yra esantys diagnostinio stendo kompiuteryje sulėtėjimo reikšmės, atitinkančios analogiškoms reikšmėms naujo amortizatoriaus, įmontuoto į automobilį surinkimo konvejeryje. Šio metodo trūkumas yra tas, kad stendas diagnozuoja ne tiek amortizatorių būklę, kiek bendrą automobilio pakabinimo būklę. Todėl kai kurie amortizatorių gamintojai nepripažįsta tokio testavimo rezultatų kaip amortizatorių diagnostikos.

Parengta pagal užsienio spaudą

 

Autoreviu.lt informaciją atgaminti visuomenės informavimo priemonėse bei interneto tinklalapiuose be raštiško UAB "IKS" sutikimo draudžiama.

Komentarai (0)
Prisijunkite, kad galėtumėte komentuoti

Pasaulinės automobilių pramonės laukia nauja krizė?

Įvertinus tai, kad dauguma Japonijos gamyklų vis dar nedirba, klausimas tampa labai aktualus

„Mylių Amerika“

Reportažas apie Martyno Starkaus ir Vytaro Radzevičiaus kelionę per JAV.

„Tuning World Bodensee 2009“.

Skaitytojo reportažas iš Vokietijoje vykusios parodos

„Stebuklas“ kaimyno kieme

„Ford Probe“ keičia įvaizdį…